پلی استیشن 6: خداحافظی با گرد و غبار، سلام به دنیای بیکران بازی!
اگر از دردسرهای تمیز کردن کنسول بازیتان خسته شدهاید، خبر خوبی برایتان داریم! طراحی جدیدی که احتمالاً در پلی استیشن 6 (PlayStation 6) مورد استفاده قرار خواهد گرفت، ورود گرد و غبار به داخل دستگاه و نشستن آن روی قطعات را تقریباً غیرممکن میکند. در این مقاله به بررسی این نوآوری جذاب میپردازیم.
مشکلی به قدمت کنسولهای بازی
کنسولهای بازی، با گذشت هر نسل، قدرتمندتر میشوند، اما همیشه بحث دوام و طول عمر آنها یک نگرانی بزرگ بوده است. یکی از عوامل اصلی کاهش طول عمر کنسولها، ورود گرد و غبار به داخل دستگاه است. به نظر میرسد سونی (Sony) با اختراع جدید خود، قصد دارد این مشکل را برای همیشه حل کند.
بر اساس اطلاعات فاش شده، اختراع جدید سونی به طراحی ضد گرد و غبار برای دستگاههای الکترونیکی اختصاص دارد. جزئیات این اختراع نشان میدهد که سونی احتمالاً از آن در ساخت و طراحی کنسول پلی استیشن 6 استفاده خواهد کرد تا عمر مفید دستگاه را افزایش دهد.
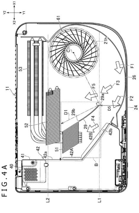
مکانیزم هوشمندانه برای جلوگیری از ورود گرد و غبار
در این طراحی، ورود هوا به داخل دستگاه از طریق گونههایی انجام میشود که ضمن تهویه مناسب، مانع از ورود گرد و غبار به داخل کنسول میشوند. در واقع، این کار به وسیله ایجاد یک دیوار ضد گرد و غبار در داخل کنسول انجام میشود.
دیوار ضد گرد و غبار بین ناحیه تهویه و سوراخ تهویه قرار میگیرد. با این طراحی، گرد و غبار و دیگر آلودگیهایی که به ناحیه تهویه میچسبند، کاهش مییابند.


مزایای طراحی ضد گرد و غبار پلی استیشن 6
این اختراع جدید که با عنوان دستگاه الکترونیکی شناخته میشود، با توجه به طراحی ضد گرد و غبار پلی استیشن 6، مستقیماً به دستگاههای بازی مربوط میشود. این طراحی قصد دارد به صورت اختصاصی از تجمع گرد و غبار روی هیتسینک و واحد تأمین برق پلی استیشن 6 جلوگیری کند.
سونی متوجه شده با مسدود شدن نواحی جریان هوا، دما افزایش مییابد و احتمالاً خرابی کنسول بالا میرود. بنابراین، این طراحی جدید به دنبال اطمینان از این است که بخش تهویه پلی استیشن 6 بتواند بدون تجمع گرد و غبار به عملکردش برای مدتی طولانی ادامه دهد.
بنابراین، این طراحی جدید به دنبال اطمینان از این است که بخش تهویه پلی استیشن 6 بتواند بدون تجمع گرد و غبار به عملکردش برای مدتی طولانی ادامه دهد.
بهعلاوه، این طراحی جدید به دنبال اطمینان از این است که بخش تهویه پلی استیشن 6 بتواند بدون تجمع گرد و غبار به عملکردش برای مدتی طولانی ادامه دهد.
بنابراین، این طراحی جدید برای تأمین آسایش خاطر اطمینان از این است که بخش تهویه پلی استیشن 6 می تواند بدون تجمع گرد و غبار به عملکردش برای مدتی طولانی ادامه دهد.
بنابراین، این طراحی جدید با رویکردی اطمینانبخش برای تأمین خاطر، درصدد اطمینان از این است که بخش تهویه پلی استیشن 6 میتواند بدون تجمع گرد و غبار به عملکرد خود برای مدتی طولانی ادامه دهد.
تصاویری که برای توصیف طراحی ضد گرد و غبار استفاده شده، عملکرد این اختراع را روی پلی استیشن 5 نشان میدهند. سونی پیش از این نیز اختراعات مشابهی را به ثبت رسانده بود. این اختراعات به مواردی از جمله کاهش حجم بازیهای AAA و طراحی کنترلری خاص برای ایجاد تجربههای فراگیر، مربوط میشوند.







